High-resolution linear actuator with DC motor; DC motor; 20 mm travel range; 50 N feed force; 30 mm/s maximum velocity; ball screw; incremental rotary encoder, 2048 counts/rev. sensor resolution; limit switches: Hall effect; 0.5 m cable length
M-235 High-Resolution Linear Actuator with DC Motor
Highly dynamic, high forces up to 120 N
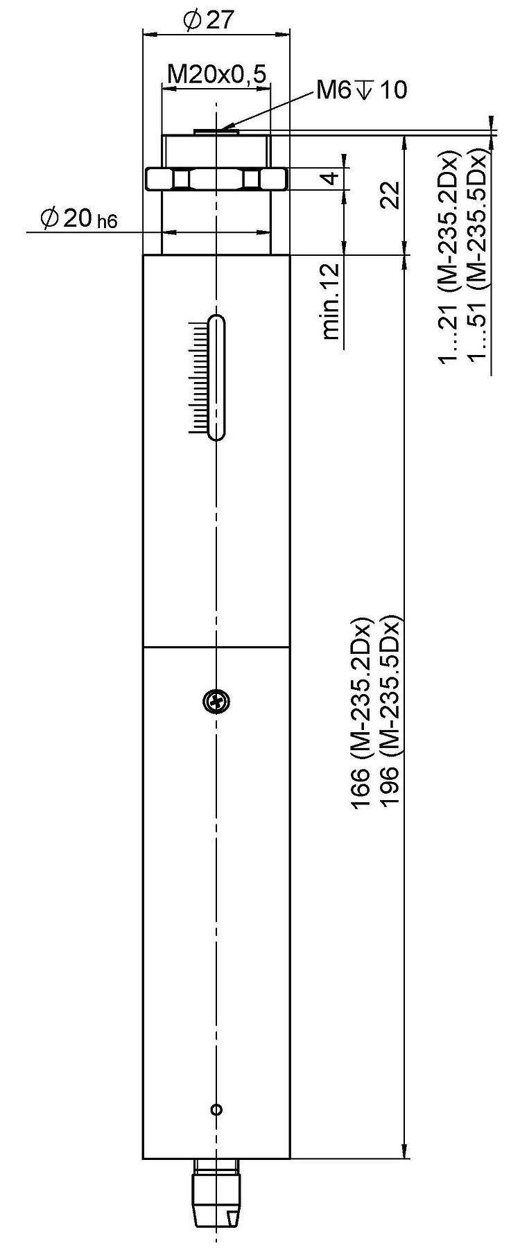
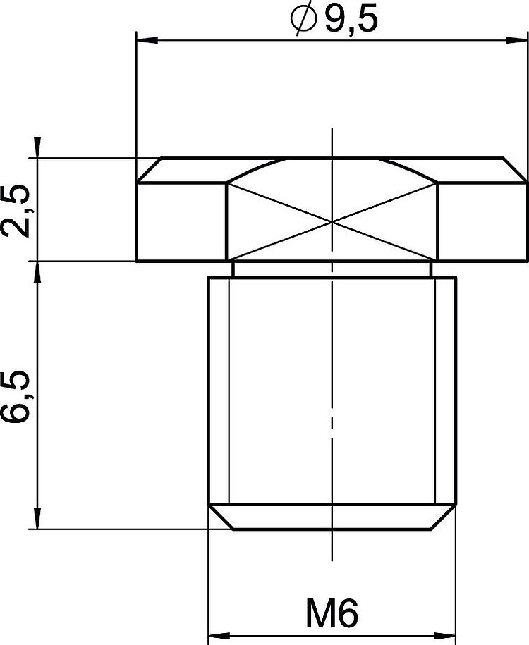
- Nonrotating tip: Avoidance of transfer of runout errors on contact point
- High-dynamic DC motor: Reduction of cycle times
- Direction-sensing reference switch: Reduction of time required for referencing move, possibility of application-dependent referencing to avoid collisions




Reference-class linear drive
Combines high precision, high forces, and high dynamics.
Travel ranges of 20 mm and 50 mm, minimum incremental motion to 0.1 µm, DC motor for high velocities, push / pull force capacity up to 120 N, MTBF >10000 h
High-quality components
Ball screw for high velocities and a high number of cycles. Nonrotating tip for uniform motion prevents wobble, torque, and wear at the point of contact. Incl. flat and spherical tip for decoupling forces. Noncontact limit switches protect the mechanics. A direction-sensing reference switch supports automation applications. Position-controlled variants with differential encoder driver in the connector for safe signal transfer over distances up to 10 m.
Motor variants
- Highly dynamic, closed-loop DC motors reach high velocities
- Position-controlled DC motors with a gearhead and high-resolution rotary encoders allow for incremental motion of just 100 nm
Application fields
Precision adjustment. External drive element for guided systems.
Specifications
Datasheet M-235
Specifications
| Motion | M-235.2DD | M-235.5DD | M-235.2DG | M-235.5DG | Tolerance |
|---|---|---|---|---|---|
| Active axes | X | X | X | X | |
| Travel range in X | 20 mm | 50 mm | 20 mm | 50 mm | |
| Maximum velocity in X, unloaded | 30 mm/s | 30 mm/s | 2 mm/s | 2 mm/s | |
| Positioning | M-235.2DD | M-235.5DD | M-235.2DG | M-235.5DG | Tolerance |
| Minimum incremental motion in X | 1.5 µm | 1.5 µm | 0.1 µm | 0.1 µm | typ. |
| Unidirectional repeatability in X | ± 0.5 µm | ± 0.5 µm | ± 0.1 µm | ± 0.1 µm | typ. |
| Backlash in X | 2 µm | 2 µm | 2 µm | 2 µm | typ. |
| Reference switch | Hall effect | Hall effect | Hall effect | Hall effect | |
| Limit switches | Hall effect | Hall effect | Hall effect | Hall effect | |
| Integrated sensor | Incremental rotary encoder | Incremental rotary encoder | Incremental rotary encoder | Incremental rotary encoder | |
| Sensor resolution | 2048 Cts./rev. | 2048 Cts./rev. | 2048 Cts./rev. | 2048 Cts./rev. | |
| Drive Properties | M-235.2DD | M-235.5DD | M-235.2DG | M-235.5DG | Tolerance |
| Drive type | DC motor | DC motor | DC gear motor | DC gear motor | |
| Operating voltage | 0 to ±12 V | 0 to ±12 V | — | — | |
| Drive force in X | 50 N | 50 N | 120 N | 120 N | typ. |
| Nominal voltage | — | — | 12 V | 12 V | |
| Nominal current, RMS | — | — | 0.485 A | 0.485 A | typ. |
| Peak current, RMS | — | — | 1.46 A | 1.46 A | typ. |
| Peak current, time limit | — | — | 3 s | 3 s | |
| Maximum power consumption | — | — | 17.46 W | 17.46 W | |
| Torque constant | — | — | 0.0146 N·m/A | 0.0146 N·m/A | typ. |
| Resistance phase-phase | — | — | 8.77 Ω | 8.77 Ω | typ. |
| Inductance phase-phase | — | — | 0.2 | 0.2 | |
| Back EMK, rotational | — | — | 1.5267 V/kRPM | 1.5267 V/kRPM | max. |
| Number of pole pairs | — | — | 1 | 1 | |
| Mechanical Properties | M-235.2DD | M-235.5DD | M-235.2DG | M-235.5DG | Tolerance |
| Permissible push force in Y | 8 N | 8 N | 8 N | 8 N | max. |
| Drive screw type | Ball screw | Ball screw | Ball screw | Ball screw | |
| Drive screw pitch | 1 mm | 1 mm | 1 mm | 1 mm | |
| Gear ratio i | — | — | 29.6 : 1 | 29.6 : 1 | |
| Overall mass | 500 g | 650 g | 550 g | 700 g | |
| Material | Aluminum, anodized, chrome steel | Aluminum anodized, chrome steel | Aluminum anodized, chrome steel | Aluminum, anodized, chrome steel | |
| Miscellaneous | M-235.2DD | M-235.5DD | M-235.2DG | M-235.5DG | Tolerance |
| Operating temperature range | -20 to 65 °C | -20 to 65 °C | -20 to 65 °C | -20 to 65 °C | |
| Connector | D-sub 15 (m) | D-sub 15 (m) | D-sub 15 (m) | D-sub 15 (m) | |
| Cable length | 0.5 m | 0.5 m | 0.5 m | 0.5 m | |
| Recommended controllers/drivers | C-863.12 C-885 with C-863.20C885 C-884 | C-863.12 C-885 with C-863.20C885 C-884 | C-863.12 C-885 with C-863.20C885 C-884 | C-863.12 C-885 with C-863.20C885 C-884 |
At PI, technical data is specified at 22 ±3 °C. Unless otherwise stated, the values are for unloaded conditions. Some properties are interdependent. The designation "typ." indicates a statistical average for a property; it does not indicate a guaranteed value for every product supplied. During the final inspection of a product, only selected properties are analyzed, not all. Please note that some product characteristics may deteriorate with increasing operating time.
Downloads
Datasheet
Datasheet M-235
Documentation
Short Instructions MP122EK
Linear Actuators: M-168 / M-22x / M-23x
User Manual MP106
M-235 Linear Actuators
3D Models
M-235 3-D model
Ask for a free quote on quantities required, prices, and lead times or describe your desired modification.
High-resolution linear actuator with DC motor; DC motor; 50 mm travel range; 50 N feed force; 30 mm/s maximum velocity; ball screw; incremental rotary encoder, 2048 counts/rev. sensor resolution; limit switches: Hall effect; 0.5 m cable length
High-resolution linear actuator with DC motor; DC gear motor; 20 mm travel range; 120 N feed force; 2 mm/s maximum velocity; ball screw; incremental rotary encoder, 2048 counts/rev. sensor resolution; limit switches: Hall effect; 0.5 m cable length
High-resolution linear actuator with DC motor; DC gear motor; 50 mm travel range; 120 N feed force; 2 mm/s maximum velocity; ball screw; incremental rotary encoder, 2048 counts/rev. sensor resolution; limit switches: Hall effect; 0.5 m cable length
Comment obtenir une offre de prix
Contactez un ingénieur!
Quickly receive an answer to your question by email or phone from a local PI sales engineer.










